Category: #الولايات المتحدة
Written by Wayne Madsen; Originally appeared on strategic-culture.org Showing that he is adopting the neoconservative playbook every day he remains in…
Written by Philip Giraldi; Originally appeared at The Unz Review In his novel 1984 George Orwell invented the expression “newspeak” to describe…
Hayat Tahrir al-Sham leader Abu Muhammad Al-Joulani received a shell fragment wound to the head in an explosion in Idlib…
On February 19th, US President Donald Trump announced the establishment of the US Space Force. He did so with a…
On February 19th, the Arleigh Burke-class guided-missile destroyer USS Donald Cook (DDG 75) entered the Black Sea for the second…
On February 19th, Venezuela announced that the nearby maritime border with Dutch Caribbean islands before the February 23rd deadline for…
Written by Alexander Rubinstein and Max Blumenthal; Originally appeared at Mint Press A select group of national news “stakeholders” gathered…
Written by Ton Luongo; Originally appeared strategic-culture.org German Chancellor Angela Merkel’s speech at the Munich Security Conference this weekend was met…
DEAR FRIENDS. IF YOU LIKE THIS TYPE OF CONTENT, SUPPORT SOUTHFRONT WORK: PayPal: southfront@internet.ru Donation alerts: https://donationalerts.com/r/southfront Gumroad: https://gumroad.com/southfront Or…
Originally appeared at ZeroHedge After President Trump’s provocative tweets on Sunday wherein he urged European countries to “take back” and…
The US-Taliban talks in Islamabad, which were set to start on February 18, have been postponed, according to a statement…
On February 17th, a group of 8 individuals, 5 of whom US citizens, carrying weapons were arrested in Haiti. Initial…
Written by Eric Zuesse; Originally appeared on strategic-culture.org On February 8th, the NATO-supporting Atlantik-Bruecke, or Atlantic Bridge, issued their poll, “Vertrauen in…
On February 18th, US President Donald Trump warned the Venezuelan military personnel still supporting President Nicolas Maduro that they will…
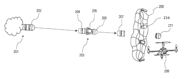
Originally appeared at ZeroHedge A team of Army researchers has designed a 40mm grenade round with a net embedded inside the warhead to…
















